détail fenêtre bois triple-vitrage
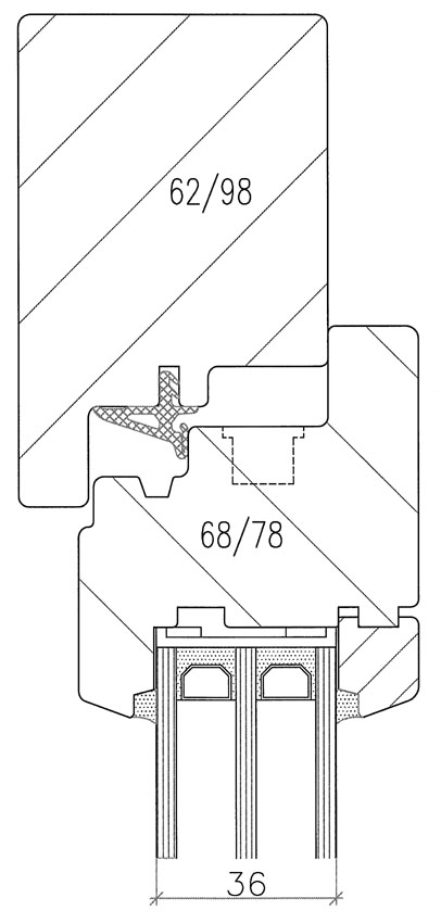
Ceci est un détail d'une fenêtre bois MEKO 5 avec un triple-vitage
https://www.michellod-menuiserie.ch/fenetre/images/detail-fenetre-bois-triple-vitrage-2/view
https://www.michellod-menuiserie.ch/logo.png
détail fenêtre bois triple-vitrage
Ceci est un détail d'une fenêtre bois MEKO 5 avec un triple-vitage